Canon registra patente que levanta suspeitas sobre câmera mirrorless full-frame
Um dos mercados em ascensão, o nicho das câmeras mirrorless têm crescido bastante nos últimos anos. As câmeras mirrorless são compactas com lentes intercambiáveis. Elas não possuem espelhos em sua parte mecânica – mirrorless significa “sem espelho” em inglês. Por isso, são mais compactas que as DSLRs e tem muitos recursos semelhantes, o que seria o motivo da queda de venda das DSLRs.

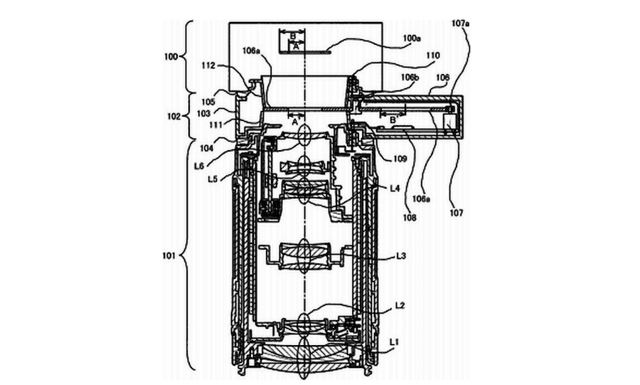
Parece que a Canon está bem ciente desta situação. A empresa acaba de patentear no Japão um adaptador para câmera mirrorless full-frame, com um novo sistema de montagem. O fato de existir a patente não significa, necessariamente, que a empresa vá lançar o produto. Mas, por outro lado, isso pode ser um sinal de que uma possível câmera mirrorless full-frame da Canon possa estar a caminho.

A patente refere-se a um adaptador para uma câmera mirrorless full-frame que tem um interruptor para mudar entre EF e EF-S da Canon. Se essa patente existe, muito provavelmente significa que a marca pretende investir nas mirrorless. Vamos aguardar mais novidades. A primeira câmera mirrorless da Canon foi a EOS-M, lançada em 2012. Porém, a empresa ainda não possui uma full-frame no seu line-up de câmera mirrorless. Rumores, desde o início do ano, dão conta de que uma câmera mirrorless full-frame com 50mp seria lançada pela Canon.

FONTE: DCN





Espero que venha realmente uma camera boa nesse segmento, pois a Sony Alpha 6000 é muito superior a EOS M3 e o valor é mais em conta;