Patente sugere futuro Apple Watch com câmeras
Não é dúvida que câmeras vendem gadgets, smartphones e afins. No caso do Apple Watch, relógio da Apple, já era possível usá-lo para controlar a câmera do celular. Mas parece que isso não foi suficiente.

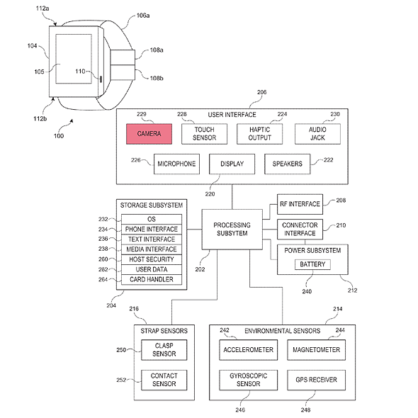
A Apple acaba de ter registrada uma nova patente que inclui câmera embutida no relógio, o que faz do produto quase um gadget do James Bond. A patente, solicitada em 2013, inclui câmera para selfie e digitalização de QR Code, com possibilidade de construção de lente fixa ou zoom. Além disso, fica em aberto a informação da quantidade de câmeras que poderiam ser incluídas no produto, com a frase explicando que “zero, uma ou mais câmeras podem ser fornecidas, dependendo da implementação”.

Isso não significa que a Apple irá obrigatoriamente incluir uma câmera nas próximas gerações do Apple Watch; dependerá dos planos atuais da empresa. Porém, com o registro deste tipo de patente, fica em aberto a possibilidade de um futuro Apple Watch com câmera, além de proteger a ideia desde já.

Fonte: DP Review, Patent Apple



